MA NÍ OMEGA CHỐT VẶN REN GREEN PIN
4161



CÔNG TY TNHH DỊCH VỤ KỸ THUẬT HÀNG HẢI NHẬT MINH
Hotline / Zalo: 0975 11 96 96 – Email: [email protected]
Web: www.capvaivietnam.com // www.nhatminhdvkt.com // www.youtube.nhatminhdvkt.com
Liên hệ
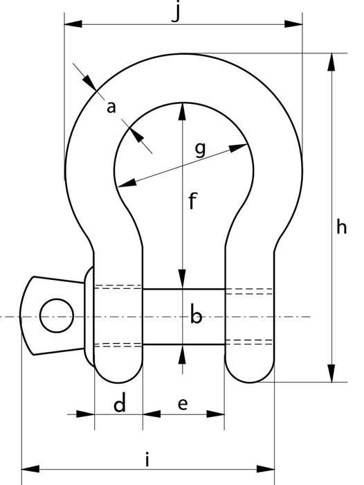
Green Pin Bow Shackle SC – Standard bow shackle with screw collar pin
MA NÍ OMEGA CHỐT VẶN REN GREEN PIN
4161



CÔNG TY TNHH DỊCH VỤ KỸ THUẬT HÀNG HẢI NHẬT MINH
Hotline / Zalo: 0975 11 96 96 – Email: [email protected]
Web: www.capvaivietnam.com // www.nhatminhdvkt.com // www.youtube.nhatminhdvkt.com
Cáp thép mạ / không mạ